
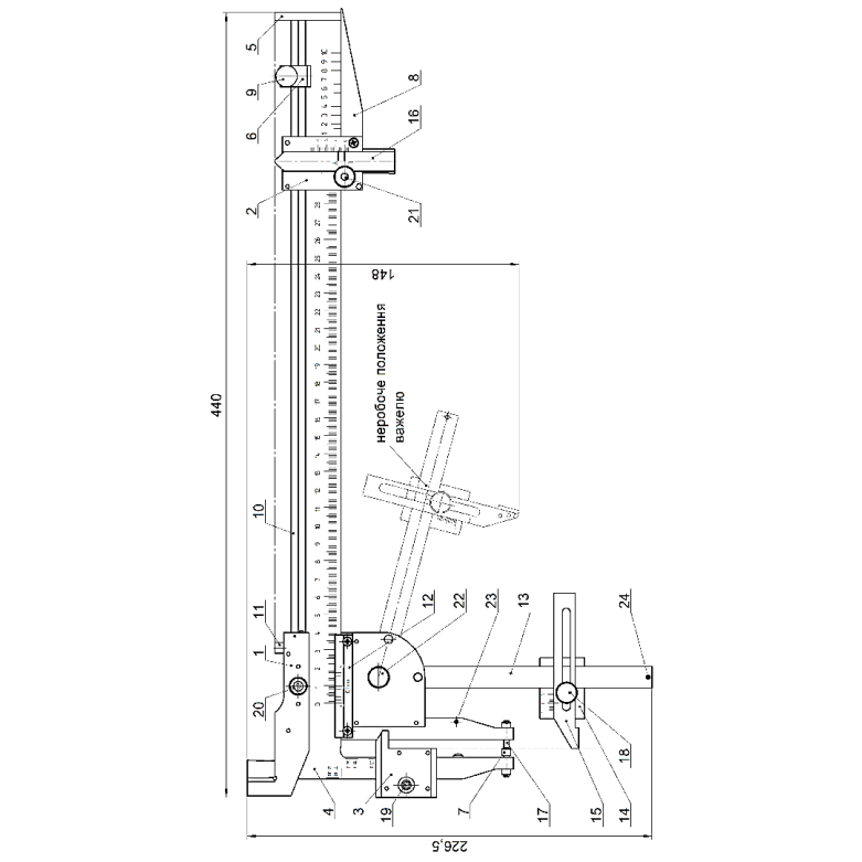
Railway micrometer caliper type PSHV
Provider:
PP PROM-ALLIANCEContacts:
Viber, WhatsApp, Telegram:
phone +380503252563
email 0577586982@ukr.net
http://gdc.com.ua
Railway micrometer caliper type PSHV
The railway micrometer caliper type PSHV is designed for measuring outdoor elements of the upper structure of railway tracks with laid rails of types: P50, P65, P75 according to DSTU 4344, OR50, and OR65 according to DSTU 4814.
The railway micrometer caliper type PSHV is made of stainless steel grade 40X13. The improved design of the small frame eliminates the displacement of the measuring jaw during operation.
Parameters measured by the railway micrometer caliper type PSHV:
– Lateral wear of the rail head;
– Wear of the head, flange, and web vertically;
– Point pitch;
– Point depression against the frame rail;
– Width of the groove between the check rail and the frame rail;
– Width of the groove between the flange and the web;
– Gaps in rail joints, switch points;
– Depths of holes and depressions.
Measurement ranges, mm:
– On the main scale: 0 – 290
– On the auxiliary scale of the caliper: 0 – 10
– On the small frame scale: 0 – 16
– On the lever frame scale: -5 to +5
Micrometer reading value, mm: 0.1
Scale division, mm:
– Auxiliary scale on the caliper: 0.5
– Main scale on the caliper, small frame, and lever: 1.0″


